Валюта:
Доступность:
Производитель Номер Название ИС Дней К-во Цена
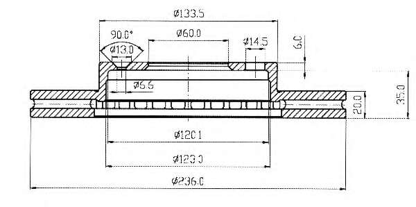
WIX FILTERS BDC3205 Тормозной диск