Валюта:
Доступность:
Производитель Номер Название ИС Дней К-во Цена
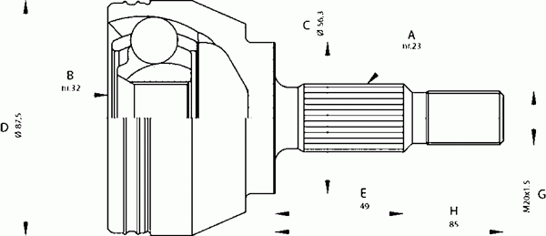
OPEN PARTS CVJ5684.10 Шарнирный комплект, приводной вал